Radon

Radon, 86Rn
Radon
Pronunciation/ˈrdɒn/ (RAY-don)
Appearancecolorless gas
Mass number[222]
Radon in the periodic table
Hydrogen Helium
Lithium Beryllium Boron Carbon Nitrogen Oxygen Fluorine Neon
Sodium Magnesium Aluminium Silicon Phosphorus Sulfur Chlorine Argon
Potassium Calcium Scandium Titanium Vanadium Chromium Manganese Iron Cobalt Nickel Copper Zinc Gallium Germanium Arsenic Selenium Bromine Krypton
Rubidium Strontium Yttrium Zirconium Niobium Molybdenum Technetium Ruthenium Rhodium Palladium Silver Cadmium Indium Tin Antimony Tellurium Iodine Xenon
Caesium Barium Lanthanum Cerium Praseodymium Neodymium Promethium Samarium Europium Gadolinium Terbium Dysprosium Holmium Erbium Thulium Ytterbium Lutetium Hafnium Tantalum Tungsten Rhenium Osmium Iridium Platinum Gold Mercury (element) Thallium Lead Bismuth Polonium Astatine
Francium Radium Actinium Thorium Protactinium Uranium Neptunium Plutonium Americium Curium Berkelium Californium Einsteinium Fermium Mendelevium Nobelium Lawrencium Rutherfordium Dubnium Seaborgium Bohrium Hassium Meitnerium Darmstadtium Roentgenium Copernicium Nihonium Flerovium Moscovium Livermorium Tennessine Oganesson
Xe

Rn

Og
astatineradonfrancium
Atomic number (Z)86
Groupgroup 18 (noble gases)
Periodperiod 6
Block  p-block
Electron configuration[Xe] 4f14 5d10 6s2 6p6
Electrons per shell2, 8, 18, 32, 18, 8
Physical properties
Phase at STPgas
Melting point202 K ​(−71 °C, ​−96 °F)
Boiling point211.5 K ​(−61.7 °C, ​−79.1 °F)
Density (at STP)9.73 g/L
when liquid (at b.p.)4.4 g/cm3
Critical point377 K, 6.28 MPa[1]
Heat of fusion3.247 kJ/mol
Heat of vaporization18.10 kJ/mol
Molar heat capacity5R/2 = 20.786 J/(mol·K)
Vapor pressure
P (Pa) 1 10 100 1 k 10 k 100 k
at T (K) 110 121 134 152 176 211
Atomic properties
Oxidation statescommon: (none)
+2,[2] +6[2]
ElectronegativityPauling scale: 2.2
Ionization energies
  • 1st: 1037 kJ/mol
Covalent radius150 pm
Van der Waals radius220 pm
Color lines in a spectral range
Spectral lines of radon
Other properties
Natural occurrencefrom decay
Crystal structureface-centered cubic (fcc)
Face-centered cubic crystal structure for radon

(predicted)
Thermal conductivity3.61×10−3  W/(m⋅K)
Magnetic orderingnon-magnetic
CAS Number10043-92-2
History
Namingshortened from "radium emanation", since it is released as radium decays
DiscoveryErnest Rutherford and Robert B. Owens (1899)
First isolationWilliam Ramsay and Robert Whytlaw-Gray (1910)
Isotopes of radon
Main isotopes[3] Decay
abun­dance half-life (t1/2) mode pro­duct
210Rn synth 2.4 h α96% 206Po
β+4% 210At
211Rn synth 14.6 h β+72.6% 211At
α27.4% 207Po
220Rn trace 55.6 s α 216Po
222Rn trace 3.8215 d α 218Po

Radon is a chemical element; it has symbol Rn and atomic number 86. It is a radioactive noble gas and is colorless and odorless. Of the three naturally occurring radon isotopes, only 222Rn has a sufficiently long half-life (3.825 days) for it to be released from the soil and rock where it is generated. Radon isotopes are the immediate decay products of radium isotopes. The instability of 222Rn, its most stable isotope, makes radon one of the rarest elements. Radon will be present on Earth for several billion more years despite its short half-life, because it is constantly being produced as a step in the decay chains of 238U and 232Th, both of which are abundant radioactive nuclides with half-lives of at least several billion years. The decay of radon produces many other short-lived nuclides, known as "radon daughters", ending at stable isotopes of lead.[4] 222Rn occurs in significant quantities as a step in the normal radioactive decay chain of 238U, also known as the uranium series, which slowly decays into a variety of radioactive nuclides and eventually decays into stable 206Pb. 220Rn occurs in minute quantities as an intermediate step in the decay chain of 232Th, also known as the thorium series, which eventually decays into stable 208Pb.

Radon was discovered in 1899 by Ernest Rutherford and Robert B. Owens at McGill University in Montreal, and was the fifth radioactive element to be discovered. First known as "emanation", the radioactive gas was identified during experiments with radium, thorium oxide, and actinium by Friedrich Ernst Dorn, Rutherford and Owens, and André-Louis Debierne, respectively, and each element's emanation was considered to be a separate substance: radon, thoron, and actinon. Sir William Ramsay and Robert Whytlaw-Gray considered that the radioactive emanations may contain a new element of the noble gas family, and isolated "radium emanation" in 1909 to determine its properties. In 1911, the element Ramsay and Whytlaw-Gray isolated was accepted by the International Commission for Atomic Weights, and in 1923, the International Committee for Chemical Elements and the International Union of Pure and Applied Chemistry (IUPAC) chose radon as the accepted name for the element's most stable isotope, 222Rn; thoron and actinon were also recognized by IUPAC as distinct isotopes of the element.[5]

Under standard conditions, radon is gaseous and can be easily inhaled, posing a health hazard. However, the primary danger comes not from radon itself, but from its decay products, known as radon daughters. These decay products, often existing as single atoms or ions, can attach themselves to airborne dust particles. Although radon is a noble gas and does not adhere to lung tissue (meaning it is often exhaled before decaying), the radon daughters attached to dust are more likely to stick to the lungs. This increases the risk of harm, as the radon daughters can cause damage to lung tissue.[6] Radon and its daughters are, taken together, often the single largest contributor to an individual's background radiation dose, but due to local differences in geology,[7] the level of exposure to radon gas differs by location. A common source of environmental radon is uranium-containing minerals in the ground; it therefore accumulates in subterranean areas such as basements. Radon can also occur in ground water, such as spring waters and hot springs.[8] Radon trapped in permafrost may be released by climate-change-induced thawing of permafrosts,[9] and radon may also be released into groundwater and the atmosphere following seismic events leading to earthquakes, which has led to its investigation in the field of earthquake prediction.[10] It is possible to test for radon in buildings, and to use techniques such as sub-slab depressurization for mitigation.[11][12]

Epidemiological studies have shown a clear association between breathing high concentrations of radon and incidence of lung cancer.[13] Radon is a contaminant that affects indoor air quality worldwide. According to the United States Environmental Protection Agency (EPA), radon is the second most frequent cause of lung cancer, after cigarette smoking, causing 21,000 lung cancer deaths per year in the United States. About 2,900 of these deaths occur among people who have never smoked. While radon is the second most frequent cause of lung cancer, it is the number one cause among non-smokers, according to EPA policy-oriented estimates.[14] Significant uncertainties exist for the health effects of low-dose exposures.[15]

Characteristics

Emission spectrum of radon, photographed by Ernest Rutherford in 1908. Numbers at the side of the spectrum are wavelengths. The middle spectrum is of radium emanation (radon), while the outer two are of helium (added to calibrate the wavelengths).

Physical properties

Radon in a cloud chamber showing its radiation

Radon is a colorless, odorless, and tasteless[16] gas and therefore is not detectable by human senses alone. At standard temperature and pressure, it forms a monatomic gas with a density of 9.73 kg/m3, about 8 times the density of the Earth's atmosphere at sea level, 1.217 kg/m3.[17] It is one of the densest gases at room temperature (a few are denser, e.g. CF3(CF2)2CF3 and WF6) and is the densest of the noble gases. Although colorless at standard temperature and pressure, when cooled below its freezing point of 202 K (−71 °C; −96 °F), it emits a brilliant radioluminescence that turns from yellow to orange-red as the temperature lowers.[18] Upon condensation, it glows because of the intense radiation it produces.[19] It is sparingly soluble in water, but more soluble than lighter noble gases. It is appreciably more soluble in organic liquids than in water. Its solubility equation is as follows:[20]

where is the molar fraction of radon, is the absolute temperature, and and are solvent constants.

Chemical properties

Radon is a member of the zero-valence elements that are called noble gases, and is chemically not very reactive. The inert pair effect stabilizes the 6s shell, making it unavailable for bonding—a consequence only understood within relativistic quantum chemistry.[21]: 66  The 3.8-day half-life of 222Rn makes it useful in physical sciences as a natural tracer. Because radon is a gas at standard conditions, unlike its decay-chain parents, it can readily be extracted from them for research.[22]

It is inert to most common chemical reactions, such as combustion, because the outer valence shell contains eight electrons. This produces a stable, minimum energy configuration in which the outer electrons are tightly bound.[23] Its first ionization energy—the minimum energy required to extract one electron from it—is 1037 kJ/mol.[24] In accordance with periodic trends, radon has a lower electronegativity than the element one period before it, xenon, and is therefore more reactive. Early studies concluded that the stability of radon hydrate should be of the same order as that of the hydrates of chlorine (Cl
2
) or sulfur dioxide (SO
2
), and significantly higher than the stability of the hydrate of hydrogen sulfide (H
2
S
).[25]

Because of its cost and radioactivity, experimental chemical research is seldom performed with radon, and as a result there are very few reported compounds of radon, all either fluorides or oxides. Radon can be oxidized by powerful oxidizing agents such as fluorine, thus forming radon difluoride (RnF
2
).[26] It decomposes back to its elements at a temperature of above 523 K (250 °C; 482 °F), and is reduced by water to radon gas and hydrogen fluoride: it may also be reduced back to its elements by hydrogen gas.[27] It has a low volatility and was thought to be RnF
2
. Because of the short half-life of radon and the radioactivity of its compounds, it has not been possible to study the compound in any detail. Theoretical studies on this molecule predict that it should have a Rn–F bond distance of 2.08 ångströms (Å), and that the compound is thermodynamically more stable and less volatile than its lighter counterpart xenon difluoride (XeF
2
).[28] The octahedral molecule RnF
6
was predicted to have an even lower enthalpy of formation than the difluoride.[29] The [RnF]+ ion is believed to form by the following reaction:[30]

Rn (g) + 2 [O
2
]+
[SbF
6
]
(s) → [RnF]+
[Sb
2
F
11
]
(s) + 2 O
2
(g)

For this reason, antimony pentafluoride together with chlorine trifluoride and N
2
F
2
Sb
2
F
11
have been considered for radon gas removal in uranium mines due to the formation of radon–fluorine compounds.[22] Radon compounds can be formed by the decay of radium in radium halides, a reaction that has been used to reduce the amount of radon that escapes from targets during irradiation.[27] Additionally, salts of the [RnF]+ cation with the anions SbF
6
, TaF
6
, and BiF
6
are known.[27] Radon is also oxidised by dioxygen difluoride to RnF
2
at 173 K (−100 °C; −148 °F).[27]

Radon oxides are among the few other reported compounds of radon;[31] only the trioxide (RnO
3
) has been confirmed.[2] The higher fluorides RnF
4
and RnF
6
have been claimed, are calculated to be stable, but have not been confirmed.[21] They may have been observed in experiments where unknown radon-containing products distilled together with xenon hexafluoride: these may have been RnF
4
, RnF
6
, or both.[27] Trace-scale heating of radon with xenon, fluorine, bromine pentafluoride, and either sodium fluoride or nickel fluoride was claimed to produce a higher fluoride as well which hydrolysed to form RnO
3
. While it has been suggested that these claims were really due to radon precipitating out as the solid complex [RnF]+
2
[NiF6]2−, the fact that radon coprecipitates from aqueous solution with CsXeO
3
F
has been taken as confirmation that RnO
3
was formed, which has been supported by further studies of the hydrolysed solution. That [RnO3F] did not form in other experiments may have been due to the high concentration of fluoride used. Electromigration studies also suggest the presence of cationic [HRnO3]+ and anionic [HRnO4] forms of radon in weakly acidic aqueous solution (pH > 5), the procedure having previously been validated by examination of the homologous xenon trioxide.[2]

The decay technique has also been used. Avrorin et al. reported in 1982 that 212Fr compounds cocrystallised with their caesium analogues appeared to retain chemically bound radon after electron capture; analogies with xenon suggested the formation of RnO3, but this could not be confirmed.[32]

It is likely that the difficulty in identifying higher fluorides of radon stems from radon being kinetically hindered from being oxidised beyond the divalent state because of the strong ionicity of radon difluoride (RnF
2
) and the high positive charge on radon in RnF+; spatial separation of RnF
2
molecules may be necessary to clearly identify higher fluorides of radon, of which RnF
4
is expected to be more stable than RnF
6
due to spin–orbit splitting of the 6p shell of radon (RnIV would have a closed-shell 6s2
6p2
1/2
configuration). Therefore, while RnF
4
should have a similar stability to xenon tetrafluoride (XeF
4
), RnF
6
would likely be much less stable than xenon hexafluoride (XeF
6
): radon hexafluoride would also probably be a regular octahedral molecule, unlike the distorted octahedral structure of XeF
6
, because of the inert pair effect.[33][34] Because radon is quite electropositive for a noble gas, it is possible that radon fluorides actually take on highly fluorine-bridged structures and are not volatile.[34] Extrapolation down the noble gas group would suggest also the possible existence of RnO, RnO2, and RnOF4, as well as the first chemically stable noble gas chlorides RnCl2 and RnCl4, but none of these have yet been found.[27]

Radon carbonyl (RnCO) has been predicted to be stable and to have a linear molecular geometry.[35] The molecules Rn
2
and RnXe were found to be significantly stabilized by spin-orbit coupling.[36] Radon caged inside a fullerene has been proposed as a drug for tumors.[37] Despite the existence of Xe(VIII), no Rn(VIII) compounds have been claimed to exist; RnF
8
should be highly unstable chemically[21] (XeF8 is thermodynamically unstable).

Radon reacts with the liquid halogen fluorides ClF, ClF
3
, ClF
5
, BrF
3
, BrF
5
, and IF
7
to form RnF
2
. In halogen fluoride solution, radon is nonvolatile and exists as the RnF+ and Rn2+ cations; addition of fluoride anions results in the formation of the complexes RnF
3
and RnF2−
4
, paralleling the chemistry of beryllium(II) and aluminium(III).[27] The standard electrode potential of the Rn2+/Rn couple has been estimated as +2.0 V,[38] although there is no evidence for the formation of stable radon ions or compounds in aqueous solution.[27]

Isotopes

Radon has no stable isotopes. Thirty-nine radioactive isotopes have been characterized, with mass numbers ranging from 193 to 231.[39][40] Six of them, from 217 to 222 inclusive, occur naturally. The most stable isotope is 222Rn (half-life 3.82 days), which is a decay product of 226Ra, the latter being itself a decay product of 238U.[41] A trace amount of the (highly unstable) isotope 218Rn (half-life about 35 milliseconds) is also among the daughters of 222Rn. The isotope 216Rn would be produced by the double beta decay of natural 216Po; while energetically possible, this process has however never been seen.[42]

Three other radon isotopes have a half-life of over an hour: 211Rn (about 15 hours), 210Rn (2.4 hours) and 224Rn (about 1.8 hours). However, none of these three occur naturally. 220Rn, also called thoron, is a natural decay product of the most stable thorium isotope (232Th). It has a half-life of 55.6 seconds and also emits alpha radiation. Similarly, 219Rn is derived from the most stable isotope of actinium (227Ac)—named "actinon"—and is an alpha emitter with a half-life of 3.96 seconds.[39]

Uranium series
The radium or uranium series

Daughters

222Rn belongs to the radium and uranium-238 decay chain, and has a half-life of 3.8235 days. Its first four products (excluding marginal decay schemes) are very short-lived, meaning that the corresponding disintegrations are indicative of the initial radon distribution. Its decay goes through the following sequence (only main decay branches shown):[39]

  • 222Rn, 3.82 days, alpha decaying to...
  • 218Po, 3.10 minutes, alpha decaying to...
  • 214Pb, 26.8 minutes, beta decaying to...
  • 214Bi, 19.9 minutes, beta decaying to...
  • 214Po, 0.1643 ms, alpha decaying to...
  • 210Pb, which has a much longer half-life of 22.3 years, beta decaying to...
  • 210Bi, 5.013 days, beta decaying to...
  • 210Po, 138.376 days, alpha decaying to...
  • 206Pb, stable.

The radon equilibrium factor[43] is the ratio between the activity of all short-period radon progenies (which are responsible for most of radon's biological effects), and the activity that would be at equilibrium with the radon parent.

If a closed volume is constantly supplied with radon, the concentration of short-lived isotopes will increase until an equilibrium is reached where the overall decay rate of the decay products equals that of the radon itself. The equilibrium factor is 1 when both activities are equal, meaning that the decay products have stayed close to the radon parent long enough for the equilibrium to be reached, within a couple of hours. Under these conditions, each additional pCi/L of radon will increase exposure by 0.01 working level (WL, a measure of radioactivity commonly used in mining). These conditions are not always met; in many homes, the equilibrium factor is typically 40%; that is, there will be 0.004 WL of daughters for each pCi/L of radon in the air.[44] 210Pb takes much longer to come in equilibrium with radon, dependent on environmental factors,[45] but if the environment permits accumulation of dust over extended periods of time, 210Pb and its decay products may contribute to overall radiation levels as well. Several studies on the radioactive equilibrium of elements in the environment find it more useful to use the ratio of other 222Rn decay products with 210Pb, such as 210Po, in measuring overall radiation levels.[46]

Because of their electrostatic charge, radon progenies adhere to surfaces or dust particles, whereas gaseous radon does not. Attachment removes them from the air, usually causing the equilibrium factor in the atmosphere to be less than 1. The equilibrium factor is also lowered by air circulation or air filtration devices, and is increased by airborne dust particles, including cigarette smoke. The equilibrium factor found in epidemiological studies is 0.4.[47]

History and etymology

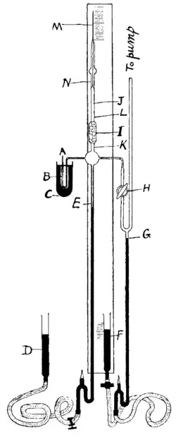
Apparatus used by Ramsay and Whytlaw-Gray to isolate radon. M is a capillary tube, where approximately 0.1 mm3 were isolated. Radon mixed with hydrogen entered the evacuated system through siphon A; mercury is shown in black.

Radon was discovered in 1899 by Ernest Rutherford and Robert B. Owens at McGill University in Montreal.[48] It was the fifth radioactive element to be discovered, after uranium, thorium, radium, and polonium.[49][50][51] In 1899, Pierre and Marie Curie observed that the gas emitted by radium remained radioactive for a month.[52] Later that year, Rutherford and Owens noticed variations when trying to measure radiation from thorium oxide.[48] Rutherford noticed that the compounds of thorium continuously emit a radioactive gas that remains radioactive for several minutes, and called this gas "emanation" (from Latin: emanare, to flow out, and emanatio, expiration),[53] and later "thorium emanation" ("Th Em"). In 1900, Friedrich Ernst Dorn reported some experiments in which he noticed that radium compounds emanate a radioactive gas he named "radium emanation" ("Ra Em").[54] In 1901, Rutherford and Harriet Brooks demonstrated that the emanations are radioactive, but credited the Curies for the discovery of the element.[55] In 1903, similar emanations were observed from actinium by André-Louis Debierne, and were called "actinium emanation" ("Ac Em").[56]

Several shortened names were soon suggested for the three emanations: exradio, exthorio, and exactinio in 1904;[57] radon (Ro), thoron (To), and akton or acton (Ao) in 1918;[58] radeon, thoreon, and actineon in 1919,[59] and eventually radon, thoron, and actinon in 1920.[60] (The name radon is not related to that of the Austrian mathematician Johann Radon.) The likeness of the spectra of these three gases with those of argon, krypton, and xenon, and their observed chemical inertia led Sir William Ramsay to suggest in 1904 that the "emanations" might contain a new element of the noble-gas family.[57]

In 1909, Ramsay and Robert Whytlaw-Gray isolated radon and determined its melting temperature and critical point.[61] Because it does not conform to expected periodic trends, their obtained melting point (the only experimental value) was questioned in 1925 by Friedrich Paneth and E. Rabinowitsch, but ab initio Monte Carlo simulations from 2018 agree almost exactly with Ramsay and Gray's result.[62] In 1910, they determined its density (that showed it was the heaviest known gas) and its position in the periodic table.[61] They wrote that "L'expression l'émanation du radium est fort incommode" ("the expression 'radium emanation' is very awkward") and suggested the new name niton (Nt) (from Latin: nitens, shining) to emphasize the radioluminescence property,[63] and in 1912 it was accepted by the International Commission for Atomic Weights. In 1923, the International Committee for Chemical Elements and International Union of Pure and Applied Chemistry (IUPAC) chose the name of the most stable isotope, radon, as the name of the element. The isotopes thoron and actinon were later renamed 220Rn and 219Rn. This has caused some confusion in the literature regarding the element's discovery as while Dorn had discovered radon the isotope, he was not the first to discover radon the element.[5]

As late as the 1960s, the element was also referred to simply as emanation.[64] The first synthesized compound of radon, radon fluoride, was obtained in 1962.[65] Even today, the word radon may refer to either the element or its isotope 222Rn, with thoron remaining in use as a short name for 220Rn to stem this ambiguity. The name actinon for 219Rn is rarely encountered today, probably due to the short half-life of that isotope.[5]

The danger of high exposure to radon in mines, where exposures can reach 1,000,000 Bq/m3, has long been known. In 1530, Paracelsus described a wasting disease of miners, the mala metallorum, and Georg Agricola recommended ventilation in mines to avoid this mountain sickness (Bergsucht).[66] In 1879, this condition was identified as lung cancer by Harting and Hesse in their investigation of miners from Schneeberg, Germany.[67] The first major studies with radon and health occurred in the context of uranium mining in the Joachimsthal region of Bohemia.[68] In the US, studies and mitigation only followed decades of health effects on uranium miners of the Southwestern US employed during the early Cold War; standards were not implemented until 1971.[69]

In the early 20th century in the US, gold contaminated with the radon daughter 210Pb entered the jewelry industry. This was from gold brachytherapy seeds that had held 222Rn, which were melted down after the radon had decayed.[70]

The presence of radon in indoor air was documented as early as 1950. Beginning in the 1970s, research was initiated to address sources of indoor radon, determinants of concentration, health effects, and mitigation approaches. In the US, the problem of indoor radon received widespread publicity and intensified investigation after a widely publicized incident in 1984. During routine monitoring at a Pennsylvania nuclear power plant, a worker was found to be contaminated with radioactivity. A high concentration of radon in his home was subsequently identified as responsible.[71][67]

Occurrence

Concentration units

210Pb is formed from the decay of 222Rn. Here is a typical deposition rate of 210Pb as observed in Japan as a function of time, due to variations in radon concentration.[72]

Discussions of radon concentrations in the environment refer to 222Rn, the decay product of uranium and radium. While the average rate of production of 220Rn (from the thorium decay series) is about the same as that of 222Rn, the amount of 220Rn in the environment is much less than that of 222Rn because of the short half-life of 220Rn (55 seconds, versus 3.8 days respectively).[4]

Radon concentration in the atmosphere is usually measured in becquerel per cubic meter (Bq/m3), the SI derived unit. Another unit of measurement common in the US is picocuries per liter (pCi/L); 1 pCi/L = 37 Bq/m3.[44] Typical domestic exposures average about 48 Bq/m3 indoors, though this varies widely, and 15 Bq/m3 outdoors.[73]

In the mining industry, the exposure is traditionally measured in working level (WL), and the cumulative exposure in working level month (WLM); 1 WL equals any combination of short-lived 222Rn daughters (218Po, 214Pb, 214Bi, and 214Po) in 1 liter of air that releases 1.3 × 105 MeV of potential alpha energy;[44] 1 WL is equivalent to 2.08 × 10−5 joules per cubic meter of air (J/m3).[4] The SI unit of cumulative exposure is expressed in joule-hours per cubic meter (J·h/m3). One WLM is equivalent to 3.6 × 10−3 J·h/m3. An exposure to 1 WL for 1 working-month (170 hours) equals 1 WLM cumulative exposure. The International Commission on Radiological Protection recommends an annual limit of 4.8WLM for miners.[74]: R5  Assuming 2000 hours of work per year, this corresponds to a concentration of 1500  Bq/m3.

222Rn decays to 210Pb and other radioisotopes. The levels of 210Pb can be measured. The rate of deposition of this radioisotope is weather-dependent.[75]

Radon concentrations found in natural environments are much too low to be detected by chemical means. A 1,000 Bq/m3 (relatively high) concentration corresponds to 0.17 picogram per cubic meter (pg/m3). The average concentration of radon in the atmosphere is about 6×10−18 molar percent, or about 150 atoms in each milliliter of air.[76] The radon activity of the entire Earth's atmosphere originates from only a few tens of grams of radon, consistently replaced by decay of larger amounts of radium, thorium, and uranium.[77]

Natural

Radon concentration next to a uranium mine

Radon is produced by the radioactive decay of radium-226, which is found in uranium ores, phosphate rock, shales, igneous and metamorphic rocks such as granite, gneiss, and schist, and to a lesser degree, in common rocks such as limestone.[7][78] Every square mile of surface soil, to a depth of 6 inches (2.6 km2 to a depth of 15 cm), contains about 1 gram of radium, which releases radon in small amounts to the atmosphere.[4] It is estimated that 2.4 billion curies (90 EBq) of radon are released from soil annually worldwide.[79] This is equivalent to some 15.3 kilograms (34 lb).

Radon concentration can differ widely from place to place. In the open air, it ranges from 1 to 100 Bq/m3, even less (0.1 Bq/m3) above the ocean. In caves or ventilated mines, or poorly ventilated houses, its concentration climbs to 20–2,000 Bq/m3.[80]

Radon concentration can be much higher in mining contexts. Ventilation regulations instruct to maintain radon concentration in uranium mines under the "working level", with 95th percentile levels ranging up to nearly 3 WL (546 pCi 222Rn per liter of air; 20.2 kBq/m3, measured from 1976 to 1985).[4] The concentration in the air at the (unventilated) Gastein Healing Gallery averages 43 kBq/m3 (1.2 nCi/L) with maximal value of 160 kBq/m3 (4.3 nCi/L).[81]

Radon mostly appears with the radium/uranium series (decay chain) (222Rn), and marginally with the thorium series (220Rn). The element emanates naturally from the ground, and some building materials, all over the world, wherever traces of uranium or thorium are found, and particularly in regions with soils containing granite or shale, which have a higher concentration of uranium. Not all granitic regions are prone to high emissions of radon. Being a rare gas, it usually migrates freely through faults and fragmented soils, and may accumulate in caves or water. Owing to its very short half-life (four days for 222Rn), radon concentration decreases very quickly when the distance from the production area increases. Radon concentration varies greatly with season and atmospheric conditions. For instance, it has been shown to accumulate in the air if there is a meteorological inversion and little wind.[82]

High concentrations of radon can be found in some spring waters and hot springs.[83] The towns of Boulder, Montana; Misasa; Bad Kreuznach, Germany; and the country of Japan have radium-rich springs that emit radon. To be classified as a radon mineral water, radon concentration must be above 2 nCi/L (74 kBq/m3).[84] The activity of radon mineral water reaches 2 MBq/m3 in Merano and 4 MBq/m3 in Lurisia (Italy).[81]

Natural radon concentrations in the Earth's atmosphere are so low that radon-rich water in contact with the atmosphere will continually lose radon by volatilization. Hence, ground water has a higher concentration of 222Rn than surface water, because radon is continuously produced by radioactive decay of 226Ra present in rocks. Likewise, the saturated zone of a soil frequently has a higher radon content than the unsaturated zone because of diffusional losses to the atmosphere.[85]

In 1971, Apollo 15 passed 110 km (68 mi) above the Aristarchus plateau on the Moon, and detected a significant rise in alpha particles thought to be caused by the decay of 222Rn. The presence of 222Rn has been inferred later from data obtained from the Lunar Prospector alpha particle spectrometer.[86]

Radon is found in some petroleum. Because radon has a similar pressure and temperature curve to propane, and oil refineries separate petrochemicals based on their boiling points, the piping carrying freshly separated propane in oil refineries can become contaminated because of decaying radon and its products.[87]

Residues from the petroleum and natural gas industry often contain radium and its daughters. The sulfate scale from an oil well can be radium rich, while the water, oil, and gas from a well often contains radon. Radon decays to form solid radioisotopes that form coatings on the inside of pipework.[87]

Accumulation in buildings

Measurement of radon levels in the first decades of its discovery was mainly done to determine the presence of radium and uranium in geological surveys. In 1956, most likely the first indoor survey of radon decay products was performed in Sweden,[88] with the intent of estimating the public exposure to radon and its decay products. From 1975 up until 1984, small studies in Sweden, Austria, the United States and Norway aimed to measure radon indoors and in metropolitan areas.[67]

Typical log-normal radon distribution in dwellings
Predicted fraction of U.S. homes having concentrations of radon exceeding the EPA's recommended action level of 4 pCi/L

High concentrations of radon in homes were discovered by chance in 1984 after the stringent radiation testing conducted at the new Limerick Generating Station nuclear power plant in Montgomery County, Pennsylvania, United States revealed that Stanley Watras, a construction engineer at the plant, was contaminated by radioactive substances even though the reactor had never been fueled and Watras had been decontaminated each evening. It was determined that radon levels in his home's basement were in excess of 100,000 Bq/m3 (2.7 nCi/L); he was told that living in the home was the equivalent of smoking 135 packs of cigarettes a day, and he and his family had increased their risk of developing lung cancer by 13 or 14 percent.[89] The incident dramatized the fact that radon levels in particular dwellings can occasionally be orders of magnitude higher than typical.[90] Since the incident in Pennsylvania, millions of short-term radon measurements have been taken in homes in the United States. Outside the United States, radon measurements are typically performed over the long term.[67]

In the United States, typical domestic exposures are of approximately 100 Bq/m3 (2.7 pCi/L) indoors. Some level of radon will be found in all buildings. Radon mostly enters a building directly from the soil through the lowest level in the building that is in contact with the ground. High levels of radon in the water supply can also increase indoor radon air levels. Typical entry points of radon into buildings are cracks in solid foundations and walls, construction joints, gaps in suspended floors and around service pipes, cavities inside walls, and the water supply.[16] Radon concentrations in the same place may differ by double/half over one hour, and the concentration in one room of a building may be significantly different from the concentration in an adjoining room.[4]

The distribution of radon concentrations will generally differ from room to room, and the readings are averaged according to regulatory protocols. Indoor radon concentration is usually assumed to follow a log-normal distribution on a given territory.[91] Thus, the geometric mean is generally used for estimating the "average" radon concentration in an area.[92] The mean concentration ranges from less than 10 Bq/m3 to over 100 Bq/m3 in some European countries.[93]

Some of the highest radon hazard in the US is found in Iowa and in the Appalachian Mountain areas in southeastern Pennsylvania.[94] Iowa has the highest average radon concentrations in the US due to significant glaciation that ground the granitic rocks from the Canadian Shield and deposited it as soils making up the rich Iowa farmland.[95] Many cities within the state, such as Iowa City, have passed requirements for radon-resistant construction in new homes. The second highest readings in Ireland were found in office buildings in the Irish town of Mallow, County Cork, prompting local fears regarding lung cancer.[96]

A fixed-location device to measure soil concentrations of radon at the Warsaw University of Technology

Since radon is a colorless, odorless gas, the only way to know how much is present in the air or water is to perform tests. In the US, radon test kits are available to the public at retail stores, such as hardware stores, for home use, and testing is available through licensed professionals, who are often home inspectors. Efforts to reduce indoor radon levels are called radon mitigation. In the US, the EPA recommends all houses be tested for radon. In the UK, under the Housing Health & Safety Rating System, property owners have an obligation to evaluate potential risks and hazards to health and safety in a residential property.[97] Alpha-radiation monitoring over the long term is a method of testing for radon that is more common in countries outside the United States.[67]

Industrial production

Radon is obtained as a by-product of uraniferous ores processing after transferring into 1% solutions of hydrochloric or hydrobromic acids. The gas mixture extracted from the solutions contains H
2
, O
2
, He, Rn, CO
2
, H
2
O
and hydrocarbons. The mixture is purified by passing it over copper at 993 K (720 °C; 1,328 °F) to remove the H
2
and the O
2
, and then KOH and P
2
O
5
are used to remove the acids and moisture by sorption. Radon is condensed by liquid nitrogen and purified from residue gases by sublimation.[98]

Radon commercialization is regulated,[99] but it is available in small quantities for the calibration of 222Rn measurement systems. In 2008 it was priced at almost US$6,000 (equivalent to $8,763 in 2024) per milliliter of radium solution (which only contains about 15 picograms of actual radon at any given moment).[100] Radon is produced commercially by a solution of radium-226 (half-life of 1,600 years). Radium-226 decays by alpha-particle emission, producing radon that collects over samples of radium-226 at a rate of about 1 mm3/day per gram of radium; equilibrium is quickly achieved and radon is produced in a steady flow, with an activity equal to that of the radium (50 Bq). Gaseous 222Rn (half-life of about four days) escapes from the capsule through diffusion.[101] Radon sources have also been produced for scientific purposes through the implantation of radium-226 into solid stainless steel.[102]

Concentration scale

Bq/m3 pCi/L Occurrence example
1 ~0.027 Radon concentration at the shores of large oceans is typically 1 Bq/m3.

Radon trace concentration above oceans or in Antarctica can be lower than 0.1 Bq/m3,[103] with changes in radon levels being used to track foreign pollutants.[104]

10 0.27 Mean continental concentration in the open air: 10 to 30 Bq/m3.

An EPA survey[105] of 11,000 homes across the USA found an average of 46 Bq/m3.

100 2.7 Typical indoor domestic exposure. Most countries have adopted a radon concentration of 200–400 Bq/m3 for indoor air as an Action or Reference Level.[66]
1,000 27 Very high radon concentrations (>1000 Bq/m3) have been found in houses built on soils with a high uranium content and/or high permeability of the ground. If levels are 20 picocuries radon per liter of air (800 Bq/m3) or higher, the home owner should consider some type of procedure to decrease indoor radon levels. Allowable concentrations in uranium mines are approximately 1,220 Bq/m3 (33 pCi/L)[106]
10,000 270 The concentration in the air at the (unventilated) Gastein Healing Gallery averages 43 kBq/m3 (about 1.2 nCi/L) with maximal value of 160 kBq/m3 (about 4.3 nCi/L).[81]
100,000 ~2700 About 100,000 Bq/m3 (2.7 nCi/L) was measured in Stanley Watras's basement.[107]
1,000,000 27000 Concentrations reaching 1,000,000 Bq/m3 can be found in unventilated uranium mines.
~5.54 × 1019 ~1.5 × 1018 Theoretical upper limit: Radon gas (222Rn) at 100% concentration (1 atmosphere, 0 °C); 1.538×105 curies/gram;[108] 5.54×1019 Bq/m3.

Applications

Medical

Hormesis

An early-20th-century form of quackery was the treatment of maladies in a radiotorium.[109] It was a small, sealed room for patients to be exposed to radon for its "medicinal effects". The carcinogenic nature of radon due to its ionizing radiation became apparent later. Radon's molecule-damaging radioactivity has been used to kill cancerous cells,[110] but it does not increase the health of healthy cells. The ionizing radiation causes the formation of free radicals, which results in cell damage, causing increased rates of illness, including cancer.[111][112]

Exposure to radon has been suggested to mitigate autoimmune diseases such as arthritis in a process known as radiation hormesis.[113][114] As a result, in the late 20th century and early 21st century, "health mines" established in Basin, Montana, attracted people seeking relief from health problems such as arthritis through limited exposure to radioactive mine water and radon. The practice is discouraged because of the well-documented ill effects of high doses of radiation on the body.[115]

Radioactive water baths have been applied since 1906 in Jáchymov, Czech Republic, but even before radon discovery they were used in Bad Gastein, Austria. Radium-rich springs are also used in traditional Japanese onsen in Misasa, Tottori Prefecture. Drinking therapy is applied in Bad Brambach, Germany, and during the early 20th century, water from springs with radon in them was bottled and sold (this water had little to no radon in it by the time it got to consumers due to radon's short half-life).[116] Inhalation therapy is carried out in Gasteiner-Heilstollen, Austria; Świeradów-Zdrój, Czerniawa-Zdrój, Kowary, Lądek-Zdrój, Poland; Harghita Băi, Romania; and Boulder, Montana. In the US and Europe, there are several "radon spas", where people sit for minutes or hours in a high-radon atmosphere, such as at Bad Schmiedeberg, Germany.[114][117]

Nuclear medicine

222Rn- and 125I-containing seeds used in brachytherapy

Radon has been produced commercially for use in radiation therapy, but for the most part has been replaced by radionuclides made in particle accelerators and nuclear reactors. Radon has been used in implantable seeds, made of gold or glass, primarily used to treat cancers, known as brachytherapy. The gold seeds were produced by filling a long tube with radon pumped from a radium source, the tube being then divided into short sections by crimping and cutting. The gold layer keeps the radon within, and filters out the alpha and beta radiations, while allowing the gamma rays to escape (which kill the diseased tissue). The activities might range from 0.05 to 5 millicuries per seed (2 to 200 MBq).[110] The gamma rays are produced by radon and the first short-lived elements of its decay chain (218Po, 214Pb, 214Bi, 214Po).[118]

After 11 half-lives (42 days), radon radioactivity is at 1/2,048 of its original level. At this stage, the predominant residual activity of the seed originates from the radon decay product 210Pb, whose half-life (22.3 years) is 2,000 times that of radon and its descendants 210Bi and 210Po.[110][118]

211Rn can be used to generate 211At, which has uses in targeted alpha therapy.[119]

Scientific

Radon emanation from the soil varies with soil type and with surface uranium content, so outdoor radon concentrations can be used to track air masses to a limited degree.[120][a] Because of radon's rapid loss to air and comparatively rapid decay, radon is used in hydrologic research that studies the interaction between groundwater and streams. Any significant concentration of radon in a river may be an indicator that there are local inputs of groundwater.[121]

Radon soil concentration has been used to map buried close-subsurface geological faults because concentrations are generally higher over the faults.[122] Similarly, it has found some limited use in prospecting for geothermal gradients.[123]

Some researchers have investigated changes in groundwater radon concentrations for earthquake prediction.[124][125] Increases in radon were noted before the 1966 Tashkent[126] and 1994 Mindoro[125] earthquakes. Radon has a half-life of approximately 3.8 days, which means that it can be found only shortly after it has been produced in the radioactive decay chain. For this reason, it has been hypothesized that increases in radon concentration is due to the generation of new cracks underground, which would allow increased groundwater circulation, flushing out radon. The generation of new cracks might not unreasonably be assumed to precede major earthquakes. In the 1970s and 1980s, scientific measurements of radon emissions near faults found that earthquakes often occurred with no radon signal, and radon was often detected with no earthquake to follow. It was then dismissed by many as an unreliable indicator.[127] As of 2009, it was under investigation as a possible earthquake precursor by NASA;[10] further research into the subject has suggested that abnormalities in atmospheric radon concentrations can be an indicator of seismic movement.[128]

Radon is a known pollutant emitted from geothermal power stations because it is present in the material pumped from deep underground. It disperses rapidly, and no radiological hazard has been demonstrated in various investigations. In addition, typical systems re-inject the material deep underground rather than releasing it at the surface, so its environmental impact is minimal.[129] In 1989, a survey of the collective dose received due to radon in geothermal fluids was measured at 2 man-sieverts per gigawatt-year of electricity produced, in comparison to the 2.5 man-sieverts per gigawatt-year produced from 14C emissions in nuclear power plants.[130]

In the 1940s and 1950s, radon produced from a radium source was used for industrial radiography.[131] Other X-ray sources such as 60Co and 192Ir became available after World War II and quickly replaced radium and thus radon for this purpose, being of lower cost and hazard.[132]

Health risks

In mines

222Rn decay products have been classified by the International Agency for Research on Cancer as being carcinogenic to humans,[133] and as a gas that can be inhaled, lung cancer is a particular concern for people exposed to elevated levels of radon for sustained periods. During the 1940s and 1950s, when safety standards requiring expensive ventilation in mines were not widely implemented,[134] radon exposure was linked to lung cancer among non-smoking miners of uranium and other hard rock materials in what is now the Czech Republic, and later among miners from the Southwestern US[135] and South Australia.[136] Despite these hazards being known in the early 1950s,[137] this occupational hazard remained poorly managed in many mines until the 1970s. During this period, several entrepreneurs opened former uranium mines in the US to the general public and advertised alleged health benefits from breathing radon gas underground. Health benefits claimed included relief from pain, sinus problems, asthma, and arthritis,[138] but the government banned such advertisements in 1975,[139] and subsequent works have debated the truth of such claimed health effects, citing the documented ill effects of radiation on the body.[140]

Since that time, ventilation and other measures have been used to reduce radon levels in most affected mines that continue to operate. In recent years, the average annual exposure of uranium miners has fallen to levels similar to the concentrations inhaled in some homes. This has reduced the risk of occupationally induced cancer from radon, although health issues may persist for those who are currently employed in affected mines and for those who have been employed in them in the past.[141] As the relative risk for miners has decreased, so has the ability to detect excess risks among that population.[142]

A tailing pond near Rifle, Colorado. Waste from uranium mining has been allowed to settle and is exposed to the atmosphere, leading to the release of radon gas into the air and decay products into the groundwater.[143]

Residues from processing of uranium ore can also be a source of radon. Radon resulting from the high radium content in uncovered dumps and tailing ponds[4] can be easily released into the atmosphere and affect people living in the vicinity.[144] The release of radon may be mitigated by covering tailings with soil or clay, though other decay products may leach into groundwater supplies.[143]

Non-uranium mines may pose higher risks of radon exposure, as workers are not continuously monitored for radiation, and regulations specific to uranium mines do not apply. A review of radon level measurements across non-uranium mines found the highest concentrations of radon in non-metal mines, such as phosphorus and salt mines.[145] However, older or abandoned uranium mines without ventilation may still have extremely high radon levels.[146]

In addition to lung cancer, researchers have theorized a possible increased risk of leukemia due to radon exposure. Empirical support from studies of the general population is inconsistent; a study of uranium miners found a correlation between radon exposure and chronic lymphocytic leukemia,[147] and current research supports a link between indoor radon exposure and poor health outcomes (i.e., an increased risk of lung cancer or childhood leukemia).[148] Legal actions taken by those involved in nuclear industries, including miners, millers, transporters, nuclear site workers, and their respective unions have resulted in compensation for those affected by radon and radiation exposure under programs such as the compensation scheme for radiation-linked diseases (in the United Kingdom)[149] and the Radiation Exposure Compensation Act (in the United States).[150]

Domestic-level exposure

Radon has been considered the second leading cause of lung cancer in the United States and leading environmental cause of cancer mortality by the EPA,[151] with the first one being smoking.[152] Others have reached similar conclusions for the United Kingdom[141] and France.[153] Radon exposure in buildings may arise from subsurface rock formations and certain building materials (e.g., some granites).[154] The greatest risk of radon exposure arises in buildings that are airtight, insufficiently ventilated, and have foundation leaks that allow air from the soil into basements and dwelling rooms.[155] In some regions, such as Niška Banja, Serbia and Ullensvang, Norway, outdoor radon concentrations may be exceptionally high, though compared to indoors, where people spend more time and air is not dispersed and exchanged as often, outdoor exposure to radon is not considered a significant health risk.[156]

Radon exposure (mostly radon daughters) has been linked to lung cancer in case-control studies performed in the US, Europe and China. There are approximately 21,000 deaths per year in the US (0.0063% of a population of 333 million) due to radon-induced lung cancers.[14][157] In Europe, 2% of all cancers have been attributed to radon;[158] in Slovenia in particular, a country with a high concentration of radon, about 120 people (0.0057% of a population of 2.11 million) die yearly because of radon.[159] One of the most comprehensive radon studies performed in the US by epidemiologist R. William Field and colleagues found a 50% increased lung cancer risk even at the protracted exposures at the EPA's action level of 4 pCi/L. North American and European pooled analyses further support these findings.[155] However, the conclusion that exposure to low levels of radon leads to elevated risk of lung cancer has been disputed,[160] and analyses of the literature point towards elevated risk only when radon accumulates indoors[148] and at levels above 100 Bq/m3.[158]

Thoron (220Rn) is less studied than 222Rn in regards to domestic exposure due to its shorter half-life. However, it has been measured at comparatively high concentrations in buildings with earthen architecture, such as traditional half-timbered houses and modern houses with clay wall finishes,[161] and in regions with thorium- and monazite-rich soil and sand.[162] Thoron is a minor contributor to the overall radiation dose received due to indoor radon exposure,[163] and can interfere with 222Rn measurements when not taken into account.[162]

Action and reference level

WHO presented in 2009 a recommended reference level (the national reference level), 100 Bq/m3, for radon in dwellings. The recommendation also says that where this is not possible, 300 Bq/m3 should be selected as the highest level. A national reference level should not be a limit, but should represent the maximum acceptable annual average radon concentration in a dwelling.[164]

The actionable concentration of radon in a home varies depending on the organization doing the recommendation, for example, the EPA encourages that action be taken at concentrations as low as 74 Bq/m3 (2 pCi/L),[73] and the European Union recommends action be taken when concentrations reach 400 Bq/m3 (11 pCi/L) for old houses and 200 Bq/m3 (5 pCi/L) for new ones.[165] On 8 July 2010, the UK's Health Protection Agency issued new advice setting a "Target Level" of 100 Bq/m3 whilst retaining an "Action Level" of 200 Bq/m3.[166] Similar levels (as in the UK) are published by Norwegian Radiation and Nuclear Safety Authority (DSA)[167] with the maximum limit for schools, kindergartens, and new dwellings set at 200 Bq/m3, where 100 Bq/m3 is set as the action level.[168]

Inhalation and smoking

Results from epidemiological studies indicate that the risk of lung cancer increases with exposure to residential radon. A well known example of source of error is smoking, the main risk factor for lung cancer. In the US, cigarette smoking is estimated to cause 80% to 90% of all lung cancers.[169]

According to the EPA, the risk of lung cancer for smokers is significant due to synergistic effects of radon and smoking. For this population about 62 people in a total of 1,000 will die of lung cancer compared to 7 people in a total of 1,000 for people who have never smoked.[14] It cannot be excluded that the risk of non-smokers should be primarily explained by an effect of radon.

Radon, like other known or suspected external risk factors for lung cancer, is a threat for smokers and former smokers. This was demonstrated by the European pooling study.[170] A commentary[170] to the pooling study stated: "it is not appropriate to talk simply of a risk from radon in homes. The risk is from smoking, compounded by a synergistic effect of radon for smokers. Without smoking, the effect seems to be so small as to be insignificant."

According to the European pooling study, there is a difference in risk for the histological subtypes of lung cancer and radon exposure. Small-cell lung carcinoma, which has a high correlation with smoking, has a higher risk after radon exposure. For other histological subtypes such as adenocarcinoma, the type that primarily affects non-smokers, the risk from radon appears to be lower.[170][171]

A study of radiation from post-mastectomy radiotherapy shows that the simple models previously used to assess the combined and separate risks from radiation and smoking need to be developed.[172] This is also supported by new discussion about the calculation method, the linear no-threshold model, which routinely has been used.[173]

A study from 2001, which included 436 non-smokers with lung cancer and a control group of 1649 non-smokers without lung cancer, showed that exposure to radon increased the risk of lung cancer in non-smokers. The group that had been exposed to tobacco smoke in the home appeared to have a much higher risk, while those who were not exposed to passive smoking did not show any increased risk with increasing radon exposure.[174]

Absorption and ingestion from water

The effects of radon if ingested are unknown, although studies have found that its biological half-life ranges from 30 to 70 minutes, with 90% removal at 100 minutes. In 1999, the US National Research Council investigated the issue of radon in drinking water. The risk associated with ingestion was considered almost negligible;[175] Water from underground sources may contain significant amounts of radon depending on the surrounding rock and soil conditions, whereas surface sources generally do not.[176] Radon is also released from water when temperature is increased, pressure is decreased and when water is aerated. Optimum conditions for radon release and exposure in domestic living from water occurred during showering. Water with a radon concentration of 104 pCi/L can increase the indoor airborne radon concentration by 1 pCi/L under normal conditions.[78] However, the concentration of radon released from contaminated groundwater to the air has been measured at 5 orders of magnitude less than the original concentration in water.[177]

Ocean surface concentrations of radon exchange within the atmosphere, causing 222Rn to increase through the air-sea interface.[178] Although areas tested were very shallow, additional measurements in a wide variety of coastal regimes should help define the nature of 222Rn observed.

Testing and mitigation

radon detector
A digital radon detector
A radon test kit

There are relatively simple tests for radon gas. In some countries these tests are methodically done in areas of known systematic hazards. Radon detection devices are commercially available. Digital radon detectors provide ongoing measurements giving both daily, weekly, short-term and long-term average readouts via a digital display. Short-term radon test devices used for initial screening purposes are inexpensive, in some cases free. There are important protocols for taking short-term radon tests and it is imperative that they be strictly followed. The kit includes a collector that the user hangs in the lowest habitable floor of the house for two to seven days. The user then sends the collector to a laboratory for analysis. Long term kits, taking collections for up to one year or more, are also available. An open-land test kit can test radon emissions from the land before construction begins.[14] Radon concentrations can vary daily, and accurate radon exposure estimates require long-term average radon measurements in the spaces where an individual spends a significant amount of time.[179]

Radon levels fluctuate naturally, due to factors like transient weather conditions, so an initial test might not be an accurate assessment of a home's average radon level. Radon levels are at a maximum during the coolest part of the day when pressure differentials are greatest.[78] Therefore, a high result (over 4 pCi/L) justifies repeating the test before undertaking more expensive abatement projects. Measurements between 4 and 10 pCi/L warrant a long-term radon test. Measurements over 10 pCi/L warrant only another short-term test so that abatement measures are not unduly delayed. The EPA has advised purchasers of real estate to delay or decline a purchase if the seller has not successfully abated radon to 4 pCi/L or less.[14]

Because the half-life of radon is only 3.8 days, removing or isolating the source will greatly reduce the hazard within a few weeks. Another method of reducing radon levels is to modify the building's ventilation. Generally, the indoor radon concentrations increase as ventilation rates decrease.[4] In a well-ventilated place, the radon concentration tends to align with outdoor values (typically 10 Bq/m3, ranging from 1 to 100 Bq/m3).[14]

The four principal ways of reducing the amount of radon accumulating in a house are:[14][180]

  • Sub-slab depressurization (soil suction) by increasing under-floor ventilation;
  • Improving the ventilation of the house and avoiding the transport of radon from the basement into living rooms;
  • Installing a radon sump system in the basement;
  • Installing a positive pressurization or positive supply ventilation system.

According to the EPA, the method to reduce radon "...primarily used is a vent pipe system and fan, which pulls radon from beneath the house and vents it to the outside", which is also called sub-slab depressurization, active soil depressurization, or soil suction.[14] Generally indoor radon can be mitigated by sub-slab depressurization and exhausting such radon-laden air to the outdoors, away from windows and other building openings. "[The] EPA generally recommends methods which prevent the entry of radon. Soil suction, for example, prevents radon from entering your home by drawing the radon from below the home and venting it through a pipe, or pipes, to the air above the home where it is quickly diluted" and the "EPA does not recommend the use of sealing alone to reduce radon because, by itself, sealing has not been shown to lower radon levels significantly or consistently".[181]

Positive-pressure ventilation systems can be combined with a heat exchanger to recover energy in the process of exchanging air with the outside, and simply exhausting basement air to the outside is not necessarily a viable solution as this can actually draw radon gas into a dwelling. Homes built on a crawl space may benefit from a radon collector installed under a "radon barrier" (a sheet of plastic that covers the crawl space).[14][182] For crawl spaces, the EPA states that "[a]n effective method to reduce radon levels in crawl space homes involves covering the earth floor with a high-density plastic sheet. A vent pipe and fan are used to draw the radon from under the sheet and vent it to the outdoors. This form of soil suction is called submembrane suction, and when properly applied is the most effective way to reduce radon levels in crawl space homes."[181]

See also

Notes

  1. ^ See radon storm.

References

  1. ^ Haynes, William M., ed. (2011). CRC Handbook of Chemistry and Physics (92nd ed.). Boca Raton, Florida: CRC Press. p. 4.122. ISBN 1-4398-5511-0.
  2. ^ a b c d Rn(II) and Rn(VI) are known in RnF2 and RnO3, respectively; see Sykes, A. G. (1998). "Recent Advances in Noble-Gas Chemistry". Advances in Inorganic Chemistry. Vol. 46. Academic Press. pp. 91–93. ISBN 978-0120236466. Retrieved November 2, 2012.
  3. ^ Kondev, F. G.; Wang, M.; Huang, W. J.; Naimi, S.; Audi, G. (2021). "The NUBASE2020 evaluation of nuclear properties" (PDF). Chinese Physics C. 45 (3): 030001. doi:10.1088/1674-1137/abddae.
  4. ^ a b c d e f g h "Toxicological profile for radon" (PDF). Agency for Toxic Substances and Disease Registry. U.S. Public Health Service, In collaboration with U.S. Environmental Protection Agency. December 1990. Archived from the original (PDF) on April 15, 2016.
  5. ^ a b c Thornton, Brett F.; Burdette, Shawn C. (August 22, 2013). "Recalling radon's recognition". Nature Chemistry. 5 (9): 804. Bibcode:2013NatCh...5..804T. doi:10.1038/nchem.1731. PMID 23965684.
  6. ^ "Public Health Fact Sheet on Radon — Health and Human Services". Mass.Gov. Archived from the original on November 21, 2011. Retrieved December 4, 2011.
  7. ^ a b Kusky, Timothy M. (2003). Geological Hazards: A Sourcebook. Greenwood Press. pp. 236–239. ISBN 9781573564694.
  8. ^ "Facts about Radon". Facts about. Archived from the original on February 22, 2005. Retrieved September 7, 2008.
  9. ^ Lamberink, Liny (February 16, 2022). "Thawing permafrost can expose northerners to cancer-causing gas, study says". cbc.ca. CBC News. Archived from the original on February 17, 2022. Retrieved February 22, 2024.
  10. ^ a b "EARTH Magazine: Earthquake prediction: Gone and back again". January 5, 2012.
  11. ^ Baraniuk, Chris (May 11, 2022). "The race against radon". Knowable Magazine. Annual Reviews. doi:10.1146/knowable-051122-1 (inactive July 12, 2025). Retrieved May 17, 2022.{{cite journal}}: CS1 maint: DOI inactive as of July 2025 (link)
  12. ^ "Skateland Sub-Slab Depressurization Testing Draft Technical Memorandum" (PDF). Environmental Protection Agency. October 28, 2005.
  13. ^
  14. ^ a b c d e f g h i "A Citizen's Guide to Radon". www.epa.gov. United States Environmental Protection Agency. October 12, 2010. Archived from the original on April 19, 2003. Retrieved January 29, 2012.
  15. ^ Dobrzynski, Ludwik; Fornalski, Krzysztof W.; Reszczyńska, Joanna (November 23, 2017). "Meta-analysis of thirty-two case–control and two ecological radon studies of lung cancer". Journal of Radiation Research. 59 (2): 149–163. doi:10.1093/jrr/rrx061. PMC 5950923. PMID 29186473.
  16. ^ a b "A Citizen's Guide to Radon: The Guide to Protecting Yourself and Your Family from Radon". Environmental Protection Agency. 2016. Archived from the original on October 4, 2015.
  17. ^ Williams, David R. (April 19, 2007). "Earth Fact Sheet". NASA. Retrieved June 26, 2008.
  18. ^ "The Element Radon". It's Elemental. Jefferson Lab.
  19. ^ Thomas, Jens (2002). Noble Gases. Marshall Cavendish. p. 13. ISBN 978-0-7614-1462-9.
  20. ^
  21. ^ a b c Thayer, John S. (2010). "Relativistic Effects and the Chemistry of the Heavier Main Group Elements". Relativistic Methods for Chemists. Challenges and Advances in Computational Chemistry and Physics. Vol. 10. p. 80. doi:10.1007/978-1-4020-9975-5_2. ISBN 978-1-4020-9974-8.
  22. ^ a b Keller, Cornelius; Wolf, Walter; Shani, Jashovam. "Radionuclides, 2. Radioactive Elements and Artificial Radionuclides". Ullmann's Encyclopedia of Industrial Chemistry. Weinheim: Wiley-VCH. doi:10.1002/14356007.o22_o15. ISBN 978-3-527-30673-2.
  23. ^ Bader, Richard F. W. "An Introduction to the Electronic Structure of Atoms and Molecules". McMaster University. Retrieved June 26, 2008.
  24. ^ David R. Lide (2003). "Section 10, Atomic, Molecular, and Optical Physics; Ionization Potentials of Atoms and Atomic Ions". CRC Handbook of Chemistry and Physics (84th ed.). Boca Raton, Florida: CRC Press.
  25. ^ Avrorin, V. V.; Krasikova, R. N.; Nefedov, V. D.; Toropova, M. A. (1982). "The Chemistry of Radon". Russian Chemical Reviews. 51 (1): 12. Bibcode:1982RuCRv..51...12A. doi:10.1070/RC1982v051n01ABEH002787. S2CID 250906059.
  26. ^
  27. ^ a b c d e f g h Stein, Lawrence (1983). "The Chemistry of Radon". Radiochimica Acta. 32 (1–3): 163–171. doi:10.1524/ract.1983.32.13.163. S2CID 100225806.
  28. ^ Meng-Sheng Liao; Qian-Er Zhang (1998). "Chemical Bonding in XeF2, XeF4, KrF2, KrF4, RnF2, XeCl2, and XeBr2: From the Gas Phase to the Solid State". The Journal of Physical Chemistry A. 102 (52): 10647. Bibcode:1998JPCA..10210647L. doi:10.1021/jp9825516.
  29. ^ Filatov, Michael; Cremer, Dieter (2003). "Bonding in radon hexafluoride: An unusual relativistic problem?". Physical Chemistry Chemical Physics. 5 (6): 1103. Bibcode:2003PCCP....5.1103F. doi:10.1039/b212460m.
  30. ^ Holloway, J. (1986). "Noble-gas fluorides". Journal of Fluorine Chemistry. 33 (1–4): 149. Bibcode:1986JFluC..33..149H. doi:10.1016/S0022-1139(00)85275-6.
  31. ^ Avrorin, V. V.; Krasikova, R. N.; Nefedov, V. D.; Toropova, M. A. (1982). "The Chemistry of Radon". Russian Chemical Reviews. 51 (1): 12. Bibcode:1982RuCRv..51...12A. doi:10.1070/RC1982v051n01ABEH002787. S2CID 250906059.
  32. ^ Avrorin, V. V.; Krasikova, R. N.; Nefedov, V. D.; Toropova, M. A. (1982). "The Chemistry of Radon". Russian Chemical Reviews. 51 (1): 12–20. Bibcode:1982RuCRv..51...12A. doi:10.1070/RC1982v051n01ABEH002787. S2CID 250906059.
  33. ^ Liebman, Joel F. (1975). "Conceptual Problems in Noble Gas and Fluorine Chemistry, II: The Nonexistence of Radon Tetrafluoride". Inorg. Nucl. Chem. Lett. 11 (10): 683–685. doi:10.1016/0020-1650(75)80185-1.
  34. ^ a b Seppelt, Konrad (2015). "Molecular Hexafluorides". Chemical Reviews. 115 (2): 1296–1306. doi:10.1021/cr5001783. PMID 25418862.
  35. ^ Malli, Gulzari L. (2002). "Prediction of the existence of radon carbonyl: RnCO". International Journal of Quantum Chemistry. 90 (2): 611. doi:10.1002/qua.963.
  36. ^ Runeberg, Nino; Pyykkö, Pekka (1998). "Relativistic pseudopotential calculations on Xe2, RnXe, and Rn2: The van der Waals properties of radon". International Journal of Quantum Chemistry. 66 (2): 131. doi:10.1002/(SICI)1097-461X(1998)66:2<131::AID-QUA4>3.0.CO;2-W.
  37. ^
  38. ^ Bratsch, Steven G. (July 29, 1988). "Standard Electrode Potentials and Temperature Coefficients in Water at 298.15 K". Journal of Physical and Chemical Reference Data. 18 (1): 1–21. Bibcode:1989JPCRD..18....1B. doi:10.1063/1.555839. S2CID 97185915.
  39. ^ a b c Sonzogni, Alejandro. "Interactive Chart of Nuclides". National Nuclear Data Center: Brookhaven National Laboratory. Archived from the original on July 21, 2011. Retrieved June 6, 2008.
  40. ^ Neidherr, D.; Audi, G.; Beck, D.; Baum, K.; Böhm, Ch.; Breitenfeldt, M.; Cakirli, R. B.; Casten, R. F.; George, S.; Herfurth, F.; Herlert, A.; Kellerbauer, A.; Kowalska, M.; Lunney, D.; Minaya-Ramirez, E.; Naimi, S.; Noah, E.; Penescu, L.; Rosenbusch, M.; Schwarz, S.; Schweikhard, L.; Stora, T. (March 19, 2009). "Discovery of 229Rn and the Structure of the Heaviest Rn and Ra Isotopes from Penning-Trap Mass Measurements" (PDF). Physical Review Letters. 102 (11): 112501–1–112501–5. Bibcode:2009PhRvL.102k2501N. doi:10.1103/PhysRevLett.102.112501. PMID 19392194.
  41. ^ "Principal Decay Scheme of the Uranium Series". Gulflink.osd.mil. Archived from the original on October 25, 2008. Retrieved September 12, 2008.
  42. ^ Tretyak, V.I.; Zdesenko, Yu.G. (2002). "Tables of Double Beta Decay Data — An Update". At. Data Nucl. Data Tables. 80 (1): 83–116. Bibcode:2002ADNDT..80...83T. doi:10.1006/adnd.2001.0873.
  43. ^ "Why Measure RDPs?". Archived from the original on February 25, 2015. Retrieved July 7, 2009.
  44. ^ a b c "EPA Assessment of Risks from Radon in Homes" (PDF). Office of Radiation and Indoor Air, US Environmental Protection Agency. June 2003. Archived from the original (PDF) on February 27, 2008.
  45. ^ Joshi, L. U.; Rangarajan, C.; Sarada Gopalakrishnan, Smt. (1969). "Measurement of lead-210 in surface air and precipitation" (PDF). Tellus. 21 (1): 107. Bibcode:1969Tell...21..107J. doi:10.1111/j.2153-3490.1969.tb00423.x.
  46. ^
  47. ^ Health effects of exposure to radon, Volume 6 of BEIR (Series). National Academies Press. 1999. p. 179. ISBN 978-0-309-05645-8.
  48. ^ a b Rutherford, E.; Owens, R. B. (1899). "Thorium and uranium radiation". Trans. R. Soc. Can. 2: 9–12.: "The radiation from thorium oxide was not constant, but varied in a most capricious manner", whereas "All the compounds of Uranium give out a radiation which is remarkably constant."
  49. ^ Partington, J. R. (1957). "Discovery of Radon". Nature. 179 (4566): 912. Bibcode:1957Natur.179..912P. doi:10.1038/179912a0. S2CID 4251991.
  50. ^ "Timeline of Element Discovery". The New York Times Company. 2008. Archived from the original on February 8, 2009. Retrieved February 28, 2008.
  51. ^
  52. ^ Curie, P.; Curie, Mme. Marie (1899). "Sur la radioactivite provoquee par les rayons de Becquerel". Comptes Rendus Hebdomadaires des Séances de l'Académie des Sciences (in French). 129: 714–6.
  53. ^ Rutherford, E. (1900). "A radioactive substance emitted from thorium compounds". Phil. Mag. 40 (296): 1–4. doi:10.1080/14786440009463821.
  54. ^
  55. ^ Rutherford, E.; Brooks, H. T. (1901). "The new gas from radium". Trans. R. Soc. Can. 7: 21–25.
  56. ^
  57. ^ a b Ramsay, Sir William; Collie, J. Norman (1904). "The Spectrum of the Radium Emanation". Proceedings of the Royal Society. 73 (488–496): 470–476. doi:10.1098/rspl.1904.0064.
  58. ^ Schmidt, Curt (1918). "Periodisches System und Genesis der Elemente". Zeitschrift für anorganische und allgemeine Chemie (in German). 103: 79–118. Bibcode:1918ZAACh.103...79S. doi:10.1002/zaac.19181030106.
  59. ^ Perrin, Jean (1919). "Matière et lumière. Essai de synthèse de la mécanique chimique". Annales de Physique. IX (in French). 11: 5–108. doi:10.1051/anphys/191909110005.
  60. ^ Adams, Elliot Quincy (1920). "The Independent Origin of Actinium". Journal of the American Chemical Society. 42 (11): 2205. Bibcode:1920JAChS..42.2205A. doi:10.1021/ja01456a010.
  61. ^ a b R. W. Gray; W. Ramsay (1909). "Some Physical Properties of Radium Emanation". J. Chem. Soc. Trans. 1909: 1073–1085. doi:10.1039/CT9099501073.
  62. ^ Smits, Odile R.; Jerabek, Paul; Pahl, Elke; Schwerdtfeger, Peter (2018). "A Hundred-Year-Old Experiment Re-evaluated: Accurate Ab Initio Monte Carlo Simulations of the Melting of Radon". Angewandte Chemie. 57 (31): 9961–9964. doi:10.1002/anie.201803353. PMID 29896841.
  63. ^ Ramsay, W.; Gray, R. W. (1910). "La densité de l'emanation du radium". Comptes Rendus Hebdomadaires des Séances de l'Académie des Sciences (in French). 151: 126–128.
  64. ^ Grosse, A. V. (1965). "Some physical and chemical properties of element 118 (Eka-Em) and element 86 (Em)". Journal of Inorganic and Nuclear Chemistry. 27 (3): 509. doi:10.1016/0022-1902(65)80255-X.
  65. ^ Fields, Paul R.; Stein, Lawrence; Zirin, Moshe H. (1962). "Radon Fluoride". J. Am. Chem. Soc. 84 (21): 4164. Bibcode:1962JAChS..84.4164F. doi:10.1021/ja00880a048.
  66. ^ a b
  67. ^ a b c d e George, A. C.; Paschoa, Anselmo Salles; Steinhäusler, Friedrich (2008). "World History Of Radon Research And Measurement From The Early 1900's To Today". AIP Conference Proceedings. 1034. AIP: 20–33. Bibcode:2008AIPC.1034...20G. doi:10.1063/1.2991210.
  68. ^ Proctor, Robert N. (2000). The Nazi War on Cancer. Princeton University Press. p. 99. ISBN 0-691-07051-2.
  69. ^ Edelstein, Michael R.; William J., Makofske (1998). Radon's deadly daughters: science, environmental policy, and the politics of risk. Rowman & Littlefield. pp. 36–39. ISBN 0-8476-8334-6.
  70. ^
  71. ^ Samet, J. M. (1992). "Indoor radon and lung cancer. Estimating the risks". The Western Journal of Medicine. 156 (1): 25–9. PMC 1003141. PMID 1734594.
  72. ^ Yamamoto, M.; Sakaguchi, A.; Sasaki, K.; Hirose, K.; Igarashi, Y.; Kim, C. (2006). "Radon". Journal of Environmental Radioactivity. 86 (1): 110–31. doi:10.1016/j.jenvrad.2005.08.001. PMID 16181712.
  73. ^ a b "Radiation Protection: Radon". United States Environmental Protection Agency. November 2007. Archived from the original on January 16, 2008. Retrieved April 17, 2008.
  74. ^ Vaillant, Ludovic; Bataille, Céline (July 19, 2012). "Management of radon: a review of ICRP recommendations". Journal of Radiological Protection. 32 (3): R1 – R12. Bibcode:2012JRP....32R...1V. doi:10.1088/0952-4746/32/3/r1. ISSN 0952-4746. PMID 22809956.
  75. ^ Yang, Handong; Appleby, Peter G. (February 22, 2016). "Use of lead-210 as a novel tracer for lead (Pb) sources in plants". Scientific Reports. 6 21707. Bibcode:2016NatSR...621707Y. doi:10.1038/srep21707. ISSN 2045-2322. PMC 4761987. PMID 26898637.
  76. ^ "Health hazard data" (PDF). The Linde Group. Archived from the original (PDF) on June 25, 2013.
  77. ^ "Le Radon. Un gaz radioactif naturel" (in French). Archived from the original on January 13, 2011. Retrieved July 7, 2009.
  78. ^ a b c Godish, Thad (2001). Indoor Environmental Quality. CRC Press. ISBN 978-1-56670-402-1.
  79. ^ Harley, J. H. in Richard Edward Stanley; A. Alan Moghissi (1975). Noble Gases. U.S. Environmental Protection Agency. p. 111.
  80. ^ Sperrin, Malcolm; Gillmore, Gavin; Denman, Tony (2001). "Radon concentration variations in a Mendip cave cluster". Environmental Management and Health. 12 (5): 476. doi:10.1108/09566160110404881.
  81. ^ a b c Zdrojewicz, Zygmunt; Strzelczyk, Jadwiga (Jodi) (2006). "Radon Treatment Controversy, Dose Response". Dose-Response. 4 (2): 106–18. doi:10.2203/dose-response.05-025.Zdrojewicz. PMC 2477672. PMID 18648641.
  82. ^ Steck, D. J.; Field, R. W.; Lynch, C. F. (1999). "Exposure to atmospheric radon". Environmental Health Perspectives. 107 (2): 123–127. Bibcode:1999EnvHP.107..123S. doi:10.1289/ehp.99107123. PMC 1566320. PMID 9924007. S2CID 1767956.
  83. ^ Field, R. William. "Radon Occurrence and Health Risk" (PDF). Department of Occupational and Environmental Health, University of Iowa. Archived from the original (PDF) on March 16, 2006. Retrieved February 2, 2008.
  84. ^ "The Clinical Principles Of Balneology & Physical Medicine". Archived from the original on May 8, 2008. Retrieved July 7, 2009.
  85. ^
  86. ^ Lawson, S.; Feldman, W.; Lawrence, D.; Moore, K.; Elphic, R.; Belian, R. (2005). "Recent outgassing from the lunar surface: the Lunar Prospector alpha particle spectrometer". J. Geophys. Res. 110 (E9): 1029. Bibcode:2005JGRE..110.9009L. doi:10.1029/2005JE002433.
  87. ^ a b "Potential for Elevated Radiation Levels In Propane" (PDF). National Energy Board. April 1994. Retrieved July 7, 2009.
  88. ^ Bengt, Hultqvist (1956). Studies on naturally occurring ionizing radiations with special reference to radiation doses in swedish houses of various types (Thesis). Stockholm College. p. 125.
  89. ^ LaFavore, Michael. "Radon: The Quiet Killer." Funk & Wagnalls 1987 Science Yearbook. New York: Funk & Wagnalls, Inc., 1986. ISBN 0-7172-1517-2. 217–21.
  90. ^ "Nuclear reaction: why do citizens fear nuclear power?". www.pbs.org. April 22, 1997.
  91. ^ Numerous references, see, for instance, Analysis And Modelling Of Indoor Radon Distributions Using Extreme Values Theory or Indoor Radon in Hungary (Lognormal Mysticism) for a discussion.
  92. ^ "Data Collection and Statistical Computations". University of Toledo. Archived from the original on May 19, 2016. Retrieved September 23, 2023.
  93. ^ "Annex E: Sources to effects assessment for radon in homes and workplaces" (PDF), Report of the United Nations Scientific Committee on the Effects of Atomic Radiation (2006), vol. 2, United Nations, pp. 209–210, 2008, archived from the original (PDF) on October 9, 2022, retrieved August 17, 2013
  94. ^ Price, Phillip N.; Nero, A.; Revzan, K.; Apte, M.; Gelman, A.; Boscardin, W. John. "Predicted County Median Concentration". Lawrence Berkeley National Laboratory. Archived from the original on December 31, 2007. Retrieved February 12, 2008.
  95. ^ Field, R. William (2003). "The Iowa Radon Lung Cancer Study". Department of Occupational and Environmental Health, University of Iowa.
  96. ^ "Record radon levels found at Mallow office". RTE.ie. September 20, 2007. Retrieved September 9, 2018.
  97. ^ Featherstone, Sarah (March 10, 2021). "Dangers Of Radon Gas - Test & Guide For Landlords 2021". Retrieved May 16, 2021.
  98. ^ "Radon Production". Rn-radon.info. July 24, 2007. Archived from the original on October 28, 2008. Retrieved January 30, 2009.
  99. ^ "EPA's Draft Criteria for Radon Credentialing Organizations". US EPA. July 28, 2017. Retrieved May 27, 2025.
  100. ^ "SRM 4972 – Radon-222 Emanation Standard". National Institute of Standards and Technology. Archived from the original on March 6, 2020. Retrieved June 26, 2008.
  101. ^ Collé, R.; R. Kishore (1997). "An update on the NIST radon-in-water standard generator: its performance efficacy and long-term stability". Nucl. Instrum. Methods Phys. Res. A. 391 (3): 511–528. Bibcode:1997NIMPA.391..511C. doi:10.1016/S0168-9002(97)00572-X.
  102. ^ Jörg, Florian; Blaum, Klaus; Schweiger, Christoph; Simgen, Hardy (January 4, 2023). "Production of 226Ra-implanted high-quality radon sources for detector characterization" (PDF). European Organization for Nuclear Research.
  103. ^ Jun, Sang-Yoon; Choi, Jung; Chambers, S.D.; Oh, Mingi; Park, Sang-Jong; Choi, Taejin; Kim, Seong-Joong; Williams, A.G.; Hong, Sang-Bum (November 2022). "Seasonality of Radon-222 near the surface at King Sejong Station (62°S), Antarctic Peninsula, and the role of atmospheric circulation based on observations and CAM-Chem model". Environmental Research. 214 (Pt 3): 113998. Bibcode:2022ER....21413998J. doi:10.1016/j.envres.2022.113998. PMID 35940229.
  104. ^ ANSTO. "Air pollution in Antarctica". phys.org. Retrieved September 23, 2024.
  105. ^ Marcinowski, F. (December 1, 1992). "Nationwide Survey of Residential Radon Levels in the US". Radiation Protection Dosimetry. 45 (1–4): 419–424. doi:10.1093/rpd/45.1-4.419. ISSN 0144-8420.
  106. ^ The Mining Safety and Health Act – 30 CFR 57.0. United States Government. 1977. Archived from the original on August 5, 2014. Retrieved July 30, 2014.
  107. ^
  108. ^ Toxicological Profile for Radon, Table 4-2 (Keith S., Doyle J. R., Harper C., et al. Toxicological Profile for Radon. Atlanta (GA): Agency for Toxic Substances and Disease Registry (US); 2012 May. 4, CHEMICAL, PHYSICAL, AND RADIOLOGICAL INFORMATION.) Retrieved 2015-06-06.
  109. ^ The Clinique, Volume 34. Illinois Homeopathic Medical Association. 1913. Retrieved June 30, 2011.
  110. ^ a b c "Radon seeds". ORAU Museum of Radiation and Radioactivity. Retrieved May 5, 2009.
  111. ^ "Does Radon Cause Cancer?". American Cancer Society. October 31, 2022. Retrieved May 27, 2025.
  112. ^ Greenstock, C.L. (1984). "Free-Radical Processes in Radiation and Chemical Carcinogenesis". Advances in Radiation Biology. Vol. 11. Elsevier. pp. 269–293. doi:10.1016/b978-0-12-035411-5.50012-5. ISBN 978-0-12-035411-5. Retrieved May 27, 2025.
  113. ^ "Radon Health Mines: Boulder and Basin, Montana". Roadside America. Retrieved December 4, 2007.
  114. ^ a b Neda, T.; Szakács, A.; Mócsy, I.; Cosma, C. (2008). "Radon concentration levels in dry CO2 emanations from Harghita Băi, Romania, used for curative purposes". Journal of Radioanalytical and Nuclear Chemistry. 277 (3): 685. Bibcode:2008JRNC..277..685N. doi:10.1007/s10967-007-7169-0. S2CID 97610571.
  115. ^ Salak, Kara; Nordeman, Landon (2004). "59631: Mining for Miracles". National Geographic. Archived from the original on January 24, 2008. Retrieved June 26, 2008.
  116. ^ "For that Healthy Glow, Drink Radiation!". Popular Science. August 18, 2004. Retrieved September 17, 2022.
  117. ^ "Jáchymov". Petros. Archived from the original on January 7, 2002. Retrieved June 26, 2008.
  118. ^ a b Kondev, F. G.; Wang, M.; Huang, W. J.; Naimi, S.; Audi, G. (2021). "The NUBASE2020 evaluation of nuclear properties" (PDF). Chinese Physics C. 45 (3): 030001. doi:10.1088/1674-1137/abddae.
  119. ^ Crawford, Jason R; Kunz, Peter; Yang, Hua; Schaffer, Paul; Ruth, Thomas J (2017). "211Rn/211At and 209At production with intense mass separated Fr ion beams for preclinical 211At-based α-therapy research". Applied Radiation and Isotopes. 122. Elsevier BV: 222–228. Bibcode:2017AppRI.122..222C. doi:10.1016/j.apradiso.2017.01.035. ISSN 0969-8043. PMID 28189025.
  120. ^ Lambert, Gérard; Polian, Georges; Taupin, D. (April 20, 1970). "Existence of periodicity in radon concentrations and in the large-scale circulation at lower altitudes between 40° and 70° south". Journal of Geophysical Research. 75 (12): 2341–2345. Bibcode:1970JGR....75.2341L. doi:10.1029/JC075i012p02341.
  121. ^ S., Sukanya; Joseph, Sabu (2023), S., Sukanya; Joseph, Sabu (eds.), "Radon Distribution in Groundwater and River Water", Environmental Radon: A Tracer for Hydrological Studies, Singapore: Springer Nature, pp. 53–87, doi:10.1007/978-981-99-2672-5_3, ISBN 978-981-99-2672-5, retrieved October 15, 2024
  122. ^ Richon, P.; Y. Klinger; P. Tapponnier; C.-X. Li; J. Van Der Woerd & F. Perrier (2010). "Measuring radon flux across active faults: Relevance of excavating and possibility of satellite discharges" (PDF). Radiat. Meas. 45 (2): 211–218. Bibcode:2010RadM...45..211R. doi:10.1016/j.radmeas.2010.01.019. hdl:10356/101845. Archived from the original (PDF) on June 26, 2013. Retrieved August 20, 2011.
  123. ^ Semprini, Lewis; Kruger, Paul (April 1980). Radon Transect Analysis In Geothermal Reservoirs. SPE California Regional Meeting, 9–11 April, Los Angeles, California. doi:10.2118/8890-MS. ISBN 978-1-55563-700-2.
  124. ^
  125. ^ a b Richon, P.; Sabroux, J.-C.; Halbwachs, M.; Vandemeulebrouck, J.; Poussielgue, N.; Tabbagh, J.; Punongbayan, R. (2003). "Radon anomaly in the soil of Taal volcano, the Philippines: A likely precursor of the M 7.1 Mindoro earthquake (1994)". Geophysical Research Letters. 30 (9): 34. Bibcode:2003GeoRL..30.1481R. doi:10.1029/2003GL016902. S2CID 140597510.
  126. ^ Cothern, C.Richard; Smith, James E., eds. (1987). Environmental Radon. Environmental Science Research. Vol. 35. New York: Springer Science & Business Media. p. 53. ISBN 978-0-306-42707-7.
  127. ^ "Expert: Earthquakes Hard To Predict". NPR.org. Retrieved May 5, 2009.
  128. ^ Tsuchiya, Mayu; Nagahama, Hiroyuki; Muto, Jun; Hirano, Mitsuhiro; Yasuoka, Yumi (2024). "Detection of atmospheric radon concentration anomalies and their potential for earthquake prediction using Random Forest analysis". Sci Rep. 14 (11626): 11626. Bibcode:2024NatSR..1411626T. doi:10.1038/s41598-024-61887-6. PMC 11143197. PMID 38821969.
  129. ^ "Radon and Naturally Occurring Radioactive Materials (NORM) associated with Hot Rock Geothermal Systems" (PDF). Government of South Australia—Primary Industries and Resources SA. Archived from the original (PDF) on April 2, 2012. Retrieved July 16, 2013.
  130. ^ Gonzalez, Abel J.; Anderer, Jeanne (1989). "Radiation versus radiation: Nuclear energy in perspective" (PDF). IAEA Bulletin (2).
  131. ^
  132. ^
  133. ^ "Known and Probable Carcinogens". American Cancer Society. Archived from the original on December 13, 2003. Retrieved June 26, 2008.
  134. ^ Mould, Richard Francis (1993). A Century of X-rays and Radioactivity in Medicine. CRC Press. ISBN 978-0-7503-0224-1.
  135. ^
  136. ^ Woodward, Alistair; Roder, David; McMichael, Anthony J.; Crouch, Philip; Mylvaganam, Arul (July 1, 1991). "Radon Daughter Exposures at the Radium Hill Uranium Mine and Lung Cancer Rates among Former Workers, 1952–87". Cancer Causes & Control. 2 (4): 213–220. doi:10.1007/BF00052136. JSTOR 3553403. PMID 1873450. S2CID 9664907.
  137. ^ "Uranium mine radon gas proves health danger (1952)". The Salt Lake Tribune. September 27, 1952. p. 13. Retrieved December 22, 2015.
  138. ^
  139. ^ "Government bans Boulder mine ads about radon health benefits (1975)". Newspapers.com. Retrieved December 22, 2015.
  140. ^ Salak, Kara; Nordeman, Landon (2004). "59631: Mining for Miracles". National Geographic. National Geographic Society. Archived from the original on January 24, 2008. Retrieved June 26, 2008.
  141. ^ a b Darby, S.; Hill, D.; Doll, R. (2005). "Radon: a likely carcinogen at all exposures". Annals of Oncology. 12 (10): 1341–1351. doi:10.1023/A:1012518223463. PMID 11762803.
  142. ^ "UNSCEAR 2006 Report Vol. I". United Nations Scientific Committee on the Effects of Atomic Radiation UNSCEAR 2006 Report to the General Assembly, with scientific annexes.
  143. ^ a b "Uranium Mining and Milling near Rifle, Colorado". Office of Legacy Management. April 19, 2016 – via Energy.gov.
  144. ^ Schläger, M.; Murtazaev, K.; Rakhmatuloev, B.; Zoriy, P.; Heuel-Fabianek, B. (2016). "Radon exhalation of the uranium tailings dump Digmai, Tajikistan" (PDF). Radiation and Applications. 1: 222–228. doi:10.21175/RadJ.2016.03.041.
  145. ^ Chen, Jing (April 2023). "A Review of Radon Exposure in Non-uranium Mines—Estimation of Potential Radon Exposure in Canadian Mines". Health Physics. 124 (4): 244–256. Bibcode:2023HeaPh.124..244C. doi:10.1097/HP.0000000000001661. ISSN 1538-5159. PMC 9940829. PMID 36607249.
  146. ^ Miklyaev, Petr S.; Petrova, Tatiana B.; Maksimovich, Nikolay G.; Krasikov, Alexey V.; Klimshin, Aleksey V.; Shchitov, Dmitriy V.; Sidyakin, Pavel A.; Tsebro, Dmitriy N.; Meshcheriakova, Olga Yu. (February 1, 2024). "Comparative studies on radon seasonal variations in various underground environments: Cases of abandoned Beshtaugorskiy uranium mine and Kungur Ice Cave". Journal of Environmental Radioactivity. 272 107346. Bibcode:2024JEnvR.27207346M. doi:10.1016/j.jenvrad.2023.107346. ISSN 0265-931X. PMID 38043218.
  147. ^ Rericha, V.; Kulich, M.; Rericha, R.; Shore, D. L.; Sandler, D. P. (2007). "Incidence of leukemia, lymphoma, and multiple myeloma in Czech uranium miners: a case-cohort study". Environmental Health Perspectives. 114 (6): 818–822. doi:10.1289/ehp.8476. PMC 1480508. PMID 16759978.
  148. ^ a b Nunes, Leonel J. R.; Curado, António; da Graça, Luís C. C.; Soares, Salete; Lopes, Sérgio Ivan (March 25, 2022). "Impacts of Indoor Radon on Health: A Comprehensive Review on Causes, Assessment and Remediation Strategies". International Journal of Environmental Research and Public Health. 19 (7): 3929. doi:10.3390/ijerph19073929. ISSN 1661-7827. PMC 8997394. PMID 35409610.
  149. ^ The Redfern Inquiry into human tissue analysis in UK nuclear facilities. The Stationery Office. November 16, 2010. ISBN 9780102966183.
  150. ^ "An Overview of the Radiation Exposure Compensation Program". www.gpo.gov. United States Senate and the U.S. Government Printing Office. July 21, 2004. Retrieved August 28, 2024.
  151. ^ "Health Risk of Radon". Environmental Protection Agency. February 27, 2024. Retrieved August 15, 2024.
  152. ^ Schabath MB, Cote ML (October 2019). "Cancer Progress and Priorities: Lung Cancer". Cancer Epidemiol Biomarkers Prev. 28 (10). Radon. doi:10.1158/1055-9965.EPI-19-0221. PMC 6777859. PMID 31575553.
  153. ^ Catelinois O.; Rogel A.; Laurier D.; Billon, Solenne; Hemon, Denis; Verger, Pierre; Tirmarche, Margot (2006). "Lung cancer attributable to indoor radon exposure in france: impact of the risk models and uncertainty analysis". Environmental Health Perspectives. 114 (9): 1361–1366. Bibcode:2006EnvHP.114.1361C. doi:10.1289/ehp.9070. PMC 1570096. PMID 16966089.
  154. ^ Todorović, N.; Nikolov, J.; Petrović Pantić, T.; Kovačević, J.; Stojković, I.; Krmar, M. (2015). "Radon in Water - Hydrogeology and Health Implication". In Stacks, Audrey M. (ed.). Radon: geology, environmental impact and toxicity concerns. Nova Science Publishers, Inc. pp. 163–187. ISBN 978-1-63463-742-8.
  155. ^ a b "Exposure to Environmental Hazards from Natural Sources". Reducing Environmental Cancer Risk – What We Can Do Now (PDF) (Report). US Department of Health and Human Services. April 2010. pp. 89–92. Archived from the original (PDF) on May 28, 2010.
  156. ^ Čeliković, Igor; Pantelić, Gordana; Vukanac, Ivana; Krneta Nikolić, Jelena; Živanović, Miloš; Cinelli, Giorgia; Gruber, Valeria; Baumann, Sebastian; Quindos Poncela, Luis Santiago; Rabago, Daniel (January 7, 2022). "Outdoor Radon as a Tool to Estimate Radon Priority Areas—A Literature Overview". International Journal of Environmental Research and Public Health. 19 (2): 662. doi:10.3390/ijerph19020662. ISSN 1661-7827. PMC 8775861. PMID 35055485.
  157. ^ "QuickFacts". www.census.gov. United States Census Bureau. July 1, 2022. Retrieved March 8, 2023.
  158. ^ a b Ngoc, Le Thi Nhu; Park, Duckshin; Lee, Young-Chul (December 21, 2022). "Human Health Impacts of Residential Radon Exposure: Updated Systematic Review and Meta-Analysis of Case–Control Studies". International Journal of Environmental Research and Public Health. 20 (1): 97. doi:10.3390/ijerph20010097. ISSN 1661-7827. PMC 9819115. PMID 36612419.
  159. ^
  160. ^
  161. ^ Gierl, Stefanie; Meisenberg, Oliver; Feistenauer, Peter; Tschiersch, Jochen (April 17, 2014). "Thoron and thoron progeny measurements in German clay houses". Radiation Protection Dosimetry. 160 (1–3): 160–163. doi:10.1093/rpd/ncu076. PMID 24743764.
  162. ^ a b Ramola, R.C.; Prasad, Mukesh (December 2020). "Significance of thoron measurements in indoor environment". Journal of Environmental Radioactivity. 225 106453. Bibcode:2020JEnvR.22506453R. doi:10.1016/j.jenvrad.2020.106453. PMID 33120031.
  163. ^ Chen, Jing (2022). "Assessment of thoron contribution to indoor radon exposure in Canada". Radiation and Environmental Biophysics. 61 (1): 161–167. Bibcode:2022REBio..61..161C. doi:10.1007/s00411-021-00956-0. ISSN 0301-634X. PMC 8897316. PMID 34973065.
  164. ^ WHO Handbook on Indoor Radon (PDF). World Health Organization. 2009. ISBN 978-92-4-154767-3. Archived from the original (PDF) on March 4, 2012.
  165. ^ "Radon Levels in Dwellings: Fact Sheet 4.6" (PDF). European Environment and Health Information System. December 2009. Retrieved July 16, 2013.
  166. ^ "HPA issues new advice on radon". UK Health Protection Agency. July 2010. Archived from the original on July 14, 2010. Retrieved August 13, 2010.
  167. ^ "Radon mitigation measures". DSA (in Norwegian). Retrieved July 12, 2021.
  168. ^ "Strategy for the reduction of radon exposure in Norway, 2010" (PDF). Archived from the original (PDF) on November 20, 2021. Retrieved March 14, 2023.
  169. ^ "What Are the Risk Factors for Lung Cancer?". Centers for Disease Control and Prevention. September 18, 2019. Retrieved May 3, 2020.
  170. ^ a b c Darby, S.; Hill, D.; Auvinen, A.; Barros-Dios, J. M.; Baysson, H.; Bochicchio, F.; Deo, H.; Falk, R.; Forastiere, F.; Hakama, M.; Heid, I.; Kreienbrock, L.; Kreuzer, M.; Lagarde, F.; Mäkeläinen, I.; Muirhead, C.; Oberaigner, W.; Pershagen, G.; Ruano-Ravina, A.; Ruosteenoja, E.; Rosario, A. Schaffrath; Tirmarche, M.; Tomášek, L.; Whitley, E.; Wichmann, H.-E.; Doll, R. (2005). "Radon in homes and risk of lung cancer: Collaborative analysis of individual data from 13 European case-control studies". BMJ. 330 (7485): 223. doi:10.1136/bmj.38308.477650.63. PMC 546066. PMID 15613366.
  171. ^ Field, R. William (December 4, 2008). "President's Cancer Panel, Environmental Factors in Cancer: Radon" (PDF). Charleston, South Carolina: The American Association of Radon Scientists and Technologists (AARST). Archived from the original (PDF) on August 29, 2013.
  172. ^ Kaufman, E. L.; Jacobson, J. S.; Hershman, D. L.; Desai, M.; Neugut, A. I. (2008). "Effect of breast cancer radiotherapy and cigarette smoking on risk of second primary lung cancer". Journal of Clinical Oncology. 26 (3): 392–398. doi:10.1200/JCO.2007.13.3033. PMID 18202415.
  173. ^ Dauer, L. T.; Brooks, A. L.; Hoel, D. G.; Morgan, W. F.; Stram, D.; Tran, P. (2010). "Review and evaluation of updated research on the health effects associated with low-dose ionising radiation". Radiation Protection Dosimetry. 140 (2): 103–136. doi:10.1093/rpd/ncq141. PMID 20413418.
  174. ^ Lagarde, F.; Axelsson, G.; Damber, L.; Mellander, H.; Nyberg, F.; Pershagen, G. (2001). "Residential radon and lung cancer among never-smokers in Sweden". Epidemiology. 12 (4): 396–404. doi:10.1097/00001648-200107000-00009. JSTOR 3703373. PMID 11416777. S2CID 25719502.
  175. ^ Risk Assessment of Radon in Drinking Water. Nap.edu (2003-06-01). Retrieved on 2011-08-20.
  176. ^ "Basic Information about Radon in Drinking Water". Archived from the original on August 20, 2010. Retrieved July 24, 2013.
  177. ^ Johnson, Jan (October 28, 2019). "Answer to Question #13127 Submitted to "Ask the Experts"". Health Physics Society. Retrieved September 23, 2024.
  178. ^ Wilkening, Marvin H.; Clements, William E. (1975). "Radon 222 from the ocean surface". Journal of Geophysical Research. 80 (27): 3828–3830. Bibcode:1975JGR....80.3828W. doi:10.1029/JC080i027p03828.
  179. ^ Baes, Fred. "Answer to Question #10299 Submitted to "Ask the Experts"". Health Physics Society. Retrieved May 19, 2016.
  180. ^ World Health Organization. "Radon and cancer, fact sheet 291".
  181. ^ a b "Consumer's Guide to Radon Reduction: How to fix your home". EPA. Archived from the original on December 12, 2012. Retrieved April 3, 2010.
  182. ^ Building radon out a step-by-step guide on how to build radonresistant homes. DIANE Publishing. p. 46. ISBN 978-1-4289-0070-7.